鑄鋼閘閥
- 銷售:021-32051999
- 銷售:021-32050777
- 傳真:021-66099555
詳情介紹
- 產品介紹
- 服務承諾
- 訂貨流程
鑄鋼閘閥:是常用的截斷閥之一,主要用來接通或截斷管路中的介質,不適用于調節介質流量。鑄鋼閘閥適用的壓力、溫度及口徑范圍很大,尤其適用于中、大口徑的管道。 公稱尺寸 DN15~DN800,公稱壓力 1.6MPa~20.0MPa,密封面采用石棉石墨或柔性石墨,工作溫度 ≤570℃,操作方式有手動、齒輪傳動、電動、氣動等,適用于水、蒸汽、油品介質管路中。
產品特點
1. 結構緊湊,設計合理,閥門剛性好,通道流暢,流阻系數小。
2. 密封面為不銹鋼或硬質合金,使用壽命長。
3. 采用石棉石墨或柔性石墨,密封可靠,操作輕便靈活。
4. 可采用各種配管法蘭標準及法蘭密封面形式,滿足各種工程需要及用戶要求。
5. 廣泛應用于石油、化工、水力、火力電站各種系統的管路上。
Z41H、Z41Y、Z41W 型 PN16~PN200 鋼制楔式閘閥:手動、法蘭連接形式、明桿楔式剛性單閘板,閥座密封面材料為不銹鋼,公稱壓力 PN16~PN200,閥體材料為碳素鋼(Z41H-16C Z41H-25 Z41Y-16C Z41Y-25 Z41H-40~200)、不銹鋼(Z41W-16P Z41W-25P Z41Y-16P Z41Y-25P Z41W-16R Z41W-25R Z41Y-16R Z41Y-25R Z41H-40P~200P Z41H-40R~200R)、合金鋼(Z41Y-16I Z41Y-25I Z41Y-16V Z41Y-25V Z41H-40I~200I)的閘閥。
Z41 閘閥適用于工作壓力 1.6~20.0MPa,工作溫度 -29℃~570℃的石油、化工、水力、火力電站各種系統的管路上,切斷或接通管路介質。適用介質為:水、油品、蒸氣、及酸、堿、氨、尿素、含硫天然氣等。
鑄鋼閘閥 主要性能參數
Z41H、Z41Y、Z41W 型 PN16~PN200 鋼制楔式閘閥主要性能參數 | ||||
型號 | PN | 工作壓力 / MPa | 適用溫度 / ℃ | 適用介質 |
Z41H-16C、25 | 16、25 | 1.6、2.5 | ≤ 425 | 水、蒸汽、油品 |
Z41Y-16C、25 | ||||
Z41W-16P、25P | 16、25 | 1.6、2.5 | ≤ 150 | 弱腐蝕性介質 |
Z41Y-16P、25P | ||||
Z41W-16R、25R | ||||
Z41Y-16R、25R | ||||
Z41Y-16I、25I | ≤ 550 | 油品、蒸汽 | ||
Z41Y-16V、25V | ≤ 570 | 水、蒸汽、油品 | ||
Z41H-40~200 | 40~200 | 4.0~20.0 | ≤ 425 | 水、蒸汽、油品 |
Z41H-40I~200I | 40~200 | 4.0~20.0 | ≤ 550 | 水、蒸汽、油品 |
Z41H-40P~200P | 40~200 | 4.0~20.0 | ≤ 200 | 硝酸類 |
Z41H-40R~200R | 40~200 | 4.0~20.0 | ≤ 200 | 硝酸類 |
鑄鋼閘閥 主要零件材料
Z41H、Z41Y、Z41W 型 PN16~PN200 鋼制楔式閘閥零部件材料 | ||||
型號 | 材料 | |||
閥體、閥蓋、閘板 | 閥桿 | 密封面 | 填料 | |
Z41H-16C、25 | 碳素鋼 | 鉻不銹鋼 | 堆焊鐵基合金 | 石棉石墨或柔性石墨 |
Z41Y-16C、25 | 堆焊硬質合金 | |||
Z41W-16P、25P | 鉻鎳鈦不銹鋼 | 鉻鎳鈦不銹鋼 | 本體材料 | 石棉石墨或柔性石墨 |
Z41Y-16P、25P | 堆焊硬質合金 | |||
Z41W-16R、25R | 鉻鎳鉬鈦不銹鋼 | 鉻鎳鉬鈦不銹鋼 | 本體材料 | |
Z41Y-16R、25R | 堆焊硬質合金 | |||
Z41Y-16I、25I | 鉻鉬合金鋼 | 鉻鉬合金鋼 | 堆焊硬質合金 | |
Z41Y-16V、25V | 鉻鉬釩鋼 | 鉻鉬釩鋼 | 堆焊硬質合金 | 柔性石墨 |
Z41H-40~200 | 碳鋼 | 鉻不銹鋼 | 碳鋼+Cr13或硬質合金 | 柔性石墨 |
Z41H-40I~200I | 鉻鉬鋼 | 合金鋼 | 合金鋼+硬質合金 | 柔性石墨 |
Z41H-40P~200P | 鉻鎳鈦鋼 | 不銹鋼 | 不銹鋼或不銹鋼+硬質合金 | 柔性石墨 |
Z41H-40R~200R | 鉻鎳鉬鈦鋼 | 不銹鋼 | 不銹鋼或不銹鋼+硬質合金 | 柔性石墨 |

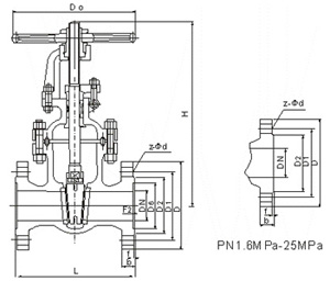
鑄鋼閘閥 主要外形尺寸
Z41H、Z41Y、Z41W 型 PN16 鋼制楔式閘閥主要外形及結構尺寸(mm) | ||||||||||
DN | L | D | D1 | D2 | b | f | z×ød | H | D0 | 重量 / kg |
15 | 130 | 95 | 65 | 45 | 14 | 2 | 4×ø14 | 175 | 200 | 4 |
20 | 150 | 105 | 75 | 55 | 14 | 2 | 4×ø14 | 180 | 200 | 5 |
25 | 160 | 115 | 85 | 65 | 14 | 2 | 4×ø14 | 210 | 200 | 6 |
32 | 180 | 135 | 100 | 78 | 16 | 2 | 4×ø18 | 210 | 200 | 7 |
40 | 200 | 145 | 110 | 85 | 16 | 3 | 4×ø18 | 350 | 200 | 19 |
50 | 250 | 160 | 125 | 100 | 16 | 3 | 4×ø18 | 358 | 240 | 29 |
65 | 265 | 180 | 145 | 120 | 18 | 3 | 4×ø18 | 375 | 240 | 33 |
80 | 280 | 195 | 160 | 135 | 20 | 3 | 8×ø18 | 433 | 280 | 45 |
100 | 300 | 215 | 180 | 155 | 20 | 3 | 8×ø18 | 502 | 320 | 63 |
125 | 325 | 245 | 210 | 185 | 22 | 3 | 8×ø18 | 612 | 360 | 108 |
150 | 350 | 280 | 240 | 210 | 24 | 3 | 8×ø23 | 676 | 360 | 134 |
200 | 400 | 335 | 295 | 265 | 26 | 3 | 12×ø23 | 820 | 400 | 192 |
250 | 450 | 405 | 355 | 320 | 30 | 3 | 12×ø25 | 969 | 450 | 273 |
300 | 500 | 460 | 410 | 375 | 30 | 4 | 12×ø25 | 1142 | 560 | 379 |
350 | 550 | 520 | 470 | 435 | 34 | 4 | 16×ø25 | 1280 | 640 | 590 |
400 | 600 | 580 | 525 | 485 | 36 | 4 | 16×ø30 | 1452 | 640 | 850 |
450 | 650 | 640 | 585 | 545 | 40 | 4 | 20×ø30 | 1541 | 720 | 907 |
500 | 700 | 705 | 650 | 608 | 44 | 4 | 20×ø34 | 1676 | 720 | 958 |
600 | 800 | 840 | 770 | 718 | 48 | 5 | 20×ø41 | 1874 | 800 | 1112 |
Z41H、Z41Y、Z41W 型 PN25 鋼制楔式閘閥主要外形及結構尺寸(mm) | ||||||||||
DN | L | D | D1 | D2 | b | f | z×ød | H | D0 | 重量 / kg |
15 | 130 | 95 | 65 | 45 | 16 | 2 | 4×ø14 | 175 | 200 | 4 |
20 | 150 | 105 | 75 | 55 | 16 | 2 | 4×ø14 | 180 | 200 | 5 |
25 | 160 | 115 | 85 | 65 | 16 | 2 | 4×ø14 | 210 | 220 | 6 |
32 | 180 | 135 | 100 | 78 | 18 | 2 | 4×ø18 | 210 | 220 | 7 |
40 | 200 | 145 | 110 | 85 | 18 | 3 | 4×ø18 | 350 | 220 | 18 |
50 | 250 | 160 | 125 | 100 | 20 | 3 | 4×ø18 | 358 | 250 | 25 |
65 | 265 | 180 | 145 | 120 | 22 | 3 | 8×ø18 | 373 | 280 | 35 |
80 | 280 | 195 | 160 | 135 | 22 | 3 | 8×ø18 | 435 | 300 | 50 |
100 | 300 | 230 | 190 | 160 | 24 | 3 | 8×ø23 | 500 | 350 | 65 |
125 | 325 | 270 | 220 | 188 | 28 | 3 | 8×ø25 | 614 | 400 | 100 |
150 | 350 | 300 | 250 | 218 | 30 | 3 | 8×ø25 | 674 | 450 | 135 |
200 | 400 | 360 | 310 | 278 | 34 | 3 | 12×ø25 | 818 | 500 | 180 |
250 | 450 | 425 | 370 | 332 | 36 | 3 | 12×ø30 | 969 | 550 | 207 |
300 | 500 | 485 | 430 | 390 | 40 | 4 | 16×ø30 | 530 | 560 | 400 |
350 | 550 | 550 | 490 | 448 | 44 | 4 | 16×ø34 | 1280 | 640 | 631 |
400 | 600 | 610 | 550 | 505 | 48 | 4 | 16×ø34 | 1450 | 640 | 900 |
450 | 650 | 660 | 600 | 555 | 50 | 4 | 20×ø34 | 1541 | 720 | 1013 |
500 | 700 | 730 | 660 | 610 | 52 | 4 | 20×ø41 | 1676 | 720 | 1166 |
600 | 800 | 840 | 770 | 718 | 56 | 5 | 20×ø41 | 1874 | 800 | 1258 |
700 | 900 | 955 | 875 | 815 | 60 | 5 | 24×ø48 | 2280 | 850 | — |
800 | 1000 | 1070 | 990 | 930 | 64 | 5 | 24×ø48 | 2420 | 900 | — |
Z41H、Z41Y、Z41W 型 PN40、PN63 鋼制楔式閘閥主要外形及結構尺寸(mm) | |||||
DN | L | D | H | W | 重量 / kg |
50 | 250 | 160 | 685 | 250 | 30 |
175 | 30 | ||||
65 | 280 | 180 | 705 | 250 | 41 |
200 | 300 | 42 | |||
80 | 310 | 195 | 780 | 250 | 48 |
210 | 350 | 51 | |||
100 | 350 | 230 | 805 | 300 | 78 |
250 | 400 | 80 | |||
125 | 400 | 270 | 890 | 350 | 112 |
295 | 400 | 125 | |||
150 | 450 | 300 | 945 | 350 | 152 |
340 | 1002 | 450 | 175 | ||
200 | 550 | 375 | 1100 | 400 | 200 |
405 | 1150 | 450 | 220 | ||
250 | 650 | 445 | 1350 | 450 | 300 |
470 | 500 | 320 | |||
300 | 750 | 510 | 1445 | 500 | 450 |
530 | 1528 | 650 | 490 | ||
350 | 850 | 570 | 1665 | — | 680 |
595 | 1792 | — | 700 | ||
400 | 950 | 655 | 1930 | — | 850 |
670 | 2180 | — | 920 | ||
Z41H、Z41Y、Z41W 型 PN100 鋼制楔式閘閥主要外形及結構尺寸(mm) | |||||
DN | L | D | H | W | 重量 / kg |
50 | 250 | 195 | 680 | 300 | 48 |
65 | 280 | 220 | 720 | 300 | 68 |
80 | 310 | 230 | 870 | 350 | 92 |
100 | 350 | 265 | 885 | 400 | 133 |
125 | 400 | 310 | 1020 | 450 | 216 |
150 | 450 | 350 | 1110 | 500 | 275 |
200 | 550 | 430 | 1225 | 500 | 360 |
250 | 650 | 500 | 1257 | 550 | 700 |
Z41H、Z41Y、Z41W 型 PN160 鋼制楔式閘閥主要外形及結構尺寸(mm) | |||||
DN | L | D | H | W | 重量 / kg |
65 | 340 | 245 | 820 | 350 | 110 |
80 | 390 | 260 | 850 | 350 | 145 |
100 | 450 | 300 | 980 | 400 | 192 |
125 | 525 | 355 | 1050 | 450 | 307 |
Z41H、Z41Y、Z41W 型 PN200 鋼制楔式閘閥主要外形及結構尺寸(mm) | |||||
DN | L | D | H | W | 重量 / kg |
50 | 350 | 210 | 712 | 350 | 108 |
65 | 410 | 260 | 765 | 400 | 195 |
80 | 470 | 290 | 835 | 450 | 250 |
100 | 550 | 360 | 950 | 500 | 350 |
125 | 650 | 385 | 1080 | 500 | 540 |
150 | 750 | 440 | 1140 | 600 | 738 |
良好的品質、優良的服務 奇高為你創造更多價值!
“奇高閥門”的期望,不斷提升服務質量,精益求精,“真誠的服務”是“奇高”永恒的主題。“奇高”嚴格按照IS09001-2000 質量體系認證要求,質量嚴格把關, 責任到人,確保生產、銷售、服務的健康運行。加強與用戶溝通,竭誠為廣大客戶提供優良產品,貼心服務。特此我廠做出以下承諾:
產品標準:
產品嚴格按照中國GB、HG 標準和美國API等標準設計、制造、驗收。密封面硬度達到國家規定要求,寬度超過國家標準。
售前服務:
產品介紹,技術交流,非標產品設計,疑難解答。
售中服務:
守信合同,及時供貨,隨時保持與客戶聯系。 對特殊或復制的產品,我廠安排技術人員對用戶進行產品使用、故障排除
售后服務:
1、“奇高”牌產品品質期為自出廠起12個月,實行“三包”服務(包退、包換、保修)。
2、產品在使用中我廠定期組織技術、質檢人員進行訪問,征詢用戶對產品質量、 使用狀況、改進意見等方面的反饋, 以便進一步提高產品質量。
3、對用戶投訴質量問題,快速作出反應,售后服務人員在24-36小時(省外48小時)趕赴現場。
4、對售后服務,要求用戶填寫服務后的質量反饋信息表,并作出鑒定意見,以便提高奇高的服務質量。
1、客戶如對產品有特殊要求,須在訂貨合同中提供以下說明:
a、結構長度;
b、連接形式;
c、公稱直徑、全通徑、縮徑、管道尺寸;
d、運行介質及溫度、壓力范圍;
e、試驗、檢驗標準及其他要求
2、本廠可根據客戶特定要求配置各類驅動裝置。
3、如由客戶提供確定的閥門類型和型號時,客戶應正確說明其型號的含義和要求,在供需雙方理解一致的條件下簽訂合同。
4、期貨、訂貨的客戶請先來電函詳細告訴所需的閥門型號、規格、數量以及交貨時間、地點,并按總的30%預定金或全額貨款及時匯入我廠帳戶,其余貨款待發貨前匯入,以便及時安排發貨。
訂單流程:
1、客戶采購清單傳真至021-33872143,或來電咨詢 021-33872141
2、收到客戶采購清單,為客戶提供閥門型號選型與報價(價格清單)。
3、具體商定:交貨期、特殊要求等事宜。
訂貨須知:
1、客戶如對產品有特殊要求,須在訂貨合同中提供以下說明:
|
|||||
|
|||||
2、本廠可根據客戶特定要求配置各類驅動裝置。
|
|||||
3、如由客戶提供確定的閥門類型和型號時,客戶應正確說明其型號的含義和要求,在供需雙方理解一致的條件下簽訂合同。
|
|||||
4、期貨、訂貨的客戶請先來電函詳細告訴所需的閥門型號、規格、數量以及交貨時間、地點,并按總的30%預定金或全額貨款及時匯入我廠賬戶, 其余貨款待發貨前匯入,以便及時安排發貨。
|
售中服務:
守信合同,及時供貨,隨時保持與客戶聯系。
對特殊或復制的產品,我廠安排技術人員對用戶進行產品使用、故障排除
售后服務:
1、“奇高”產品品質期為自出廠起12個月,實行“三包”服務(包退、包換、保修)。
2、產品在使用中我廠定期組織技術、質檢人員進行訪問,征詢用戶對產品質量、使用狀況、改進意見等方面的反饋,
以便進一步提高產品質量。
3、對用戶投訴質量問題,快速作出反應,售后服務人員在24-36小時(省外48小時)趕赴現場。
4、對售后服務,要求用戶填寫服務后的質量反饋信息表,并作出鑒定意見,以便提高“奇高”的服務質量。
聲明 |
|